| Sign In | Join Free | My chinacomputerparts.com |
|
Brand Name : Gold
Model Number : GD-DIN4102-15
Certification : ISO
Place of Origin : China
MOQ : 1
Price : Negotiation
Payment Terms : MoneyGram,D/P,D/A,L/C,Western Union,T/T
Supply Ability : 1 set per 45 days
Delivery Time : 45days
Packaging Details : standard plywood box
Name : Building Material Difficult-Flammability Test Apparatus
Standard : DIN 4102-15
Size : 1020mmx1020mmx3930mm
Combustion Chamber Size : 800mmx800mmx2000mm
Flow Meter Range : (0.25~2.5) M3/H
Burn Gas : Methane
Building material difficult-flammability test apparatus
Scope of application:
DIN 4102-15 B1 Class Flame Resistance Test Equipment (Brandschacht) is a professional equipment used to evaluate the fire resistance of building materials. It complies with the provisions of German standards DIN 4102-1 and DIN 4102-16, and is mainly aimed at B1 Class (flame-retardant) building materials (excluding floor materials). The equipment evaluates the remaining length of the material (needs to be ≥15 cm), smoke temperature (needs to be ≤200°C) and other indicators through a 10-minute fire trough test. It is suitable for products such as textiles, insulation materials, coatings and cable coatings. Relevant international standards include EN ISO 11925-2, ISO 1716 and EN 13501-1, etc., which ensure that the material has excellent flame retardancy under small flame or combustion conditions, and is widely used in the field of building safety.

Compliant standards:
Comply with GB/T 8625-2005 standard requirements.
DIN 4102-1: Fire Behaviour of Building Materials and Elements - Part 1: Classification of Building Material
DIN 4102-16: Fire Behaviour of Building Materials and Elements - Part 16: Brandschacht Tests
Test objects:
Building materials: including but not limited to:
Textiles (e.g. curtains, decorative fabrics)
Insulation materials (e.g. rock wool, foam plastics)
Coatings and coverings (e.g. wallpaper, surface coatings)
Materials for pipes and cable systems (e.g. cable coatings)
Test device:
1.The test device of this method mainly includes two parts: a combustion shaft furnace and a test equipment.
Combustion shaft furnace
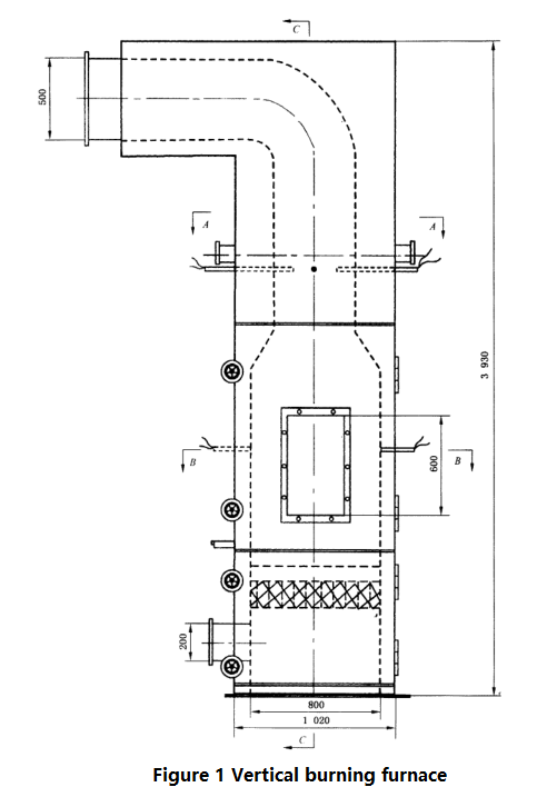
1.The combustion shaft furnace is mainly composed of a combustion chamber, a burner, a specimen support, an air stabilizing layer and a flue. Its overall dimensions are 1020mmX1020mmX3930mm (see Figure 1 and Figure 2)
Combustion chamber
1..The combustion chamber is composed of a furnace wall and a furnace door, and its internal space dimensions are 800mmX800mmX2000mm. The furnace wall is an insulating sandwich structure, and its structural form is (see Figure 2)
2.The furnace door is divided into upper and lower doors, which are connected to the furnace body with hinges respectively, and its structure is similar to the furnace wall. The two doors are closed with the furnace body by means of hand wheels and fixed screws.
3.Observation windows are provided on the upper furnace door and the rear wall of the combustion chamber.
Burner
1.The burner is horizontally placed in the center of the combustion chamber, 1000mm away from the bottom of the furnace, as shown in (Figure 3).
Specimen support
1.The specimen support is a rectangular frame with a height of 1000mm. The four sides of the frame are provided with screws for adjusting the installation distance of the specimen. The frame is made of angle steel (see Figure 4)
Air stabilization layer
1.The air stabilization layer is a square frame made of angle steel, which is set below the burner. A steel wire mesh is laid at the bottom of the square frame, and multiple layers of glass fiber felt are laid on it.
Flue duct
1.The flue duct of the combustion shaft furnace is a square channel with a cross-sectional area of 500mmX500, and is located at the top of the furnace. The lower part is connected to the combustion chamber and the upper part is connected to the external chimney.
Air supply
1.In order to form a uniform airflow in the combustion chamber, air is input at a constant rate and temperature through a Φ200mm pipe at the lower part of the furnace body.
Test equipment
1.The test equipment of the combustion shaft furnace includes flow meter, thermocouple, temperature recorder, temperature display instrument and furnace pressure test instrument.
Flow meter
1.For the measurement of methane gas and compressed air flow, a flow meter with an accuracy of 2.5 and a range of (0.25~2.5) m³/h is selected.
Thermocouple
1.The measurement of flue gas temperature and furnace wall humidity adopts nickel-chromium-nickel-silicon Kaizhuang combustion thermocouple with an accuracy of II, a wire diameter of 0.5mm and an outer diameter of no more than 3mm. Installation location is shown in Figure 2.
Temperature recorder and display instrument
1.The temperature measurement is displayed and recorded by a microcomputer, and its test accuracy is 1°C; an electronic potentiometer with a precision of 0.5 and continuous recording that matches the thermocouple or other suitable continuous recording instruments can also be used.
Pressure in the furnace
1.A T-shaped furnace pressure test tube is set at the flue part 2700mm away from the furnace bottom and 100mm away from the flue wall. The inner diameter of the T-shaped tube is 10mm and the head width is 100mm. It is connected to a microcomputer or other recorder through a differential pressure transmitter with a precision of 0.5 for continuous monitoring.
Calibration test of components in combustion shaft furnace
1.Uniformity test of heat load
2.To ensure the uniformity of heat load on the test piece during the test, four 1000mmX3mm stainless steel plates are placed on the test piece rack. A nickel-chromium-nickel-silicon thermocouple is firmly set on the center line 200mm away from the bottom of each stainless steel plate. The test is carried out according to the operating procedures specified in Chapter 5. After 10 minutes of the test, the average temperature measured by the four thermocouples on the above stainless steel plate should meet 540℃±15℃, otherwise, the device should be debugged. The test must be carried out every 3 months.
Uniformity test of air
1.Under the air supply condition with the lower furnace door of the combustion shaft furnace closed, 5 points are taken on the steel wire mesh of the air steady flow layer (see Figure 5). At 50mm away from the mesh, a hot ball micro anemometer with a measurement error of no more than 10% or other anemometers with the same accuracy is used to measure the wind speed at each point. The average wind speed measured at the five speed measurement points is converted into air flow, and should meet the gas supply volume of (10±1)㎡ min specified by the vertical furnace. This test must be conducted once every six months.
Inspection of flue gas temperature thermocouple
1.To ensure the accuracy of flue gas temperature measurement, the flue gas temperature thermocouple should be inspected at least once a month. Smoke scale should be removed, and thermocouple displacement or deformation should be corrected to the specified position.





|
|
Building Material Difficult Flammability Test Apparatus DIN 4102-15 B1 Level Images |